混流泵
聯系人:王經理
手 機:13463822299
傳 真:0312-3426585
廠 址:河北省保定市安國市石佛鎮石佛村紅星區41號








產品簡介及說明
ZJQ、NSQ型潛水式渣漿泵·吸沙泵是電機與水泵同軸潛入介質中工作的水力機械,該泵過流部件采用高強耐磨合金、耐磨鑄鐵、鑄鋼等而成,根據客戶做業所排出的液體來定過流部件材質,該泵過流通道大,適用于輸送含有較大固體顆粒的泥沙、礦漿、煤漿、砂石等介質,也可用于河道、清淤、糞便、漿飼料等吸送、澆灑、還可用作市政、化工印染、醫藥、造船、食品等,以及抽吸高濃稠液、污塵液、糊狀體等,是潛污泵無法代替的重要設備。
該系列產品吸收國內外先進技術設計制造,水泵除主葉輪外在底部增加一套攪拌葉輪,能將沉積的淤渣噴擊成湍流,使水泵在沒有輔助裝置的情況下實現高濃度輸送。獨特的密封裝置能夠有效平衡油室內外壓力,最大限度保護了機械密封的可靠性,電機采用過熱保護、進水檢測保護等多種保護措施,以及代替了各種立式水泵的使用性和可靠性和泵的使用壽命。能夠在惡劣的工況條件下長期安全的運行。
適用于抽取建筑用沙、粉沙、淤泥、尾礦漿、礦砂、鐵砂礦、河流、湖泊、水庫、港口等抽沙清淤工程,還可用于鋼鐵廠、發電廠、鐵礦廠、油田等工礦企業的沉淀池的沉砂清除,污水處理廠沉淀物等。
公司從事水力抽沙、清淤設備開發生產,并且針對不同施工環境提供相應的立、臥式的清淤沙泵的經驗,現已開發出潛水渣漿泵、吸沙泵。并始終堅持以人為本,科技創新,不斷完善內部經營管理,提高產品質量,以優良獨特的售后服務,良好的企業信譽,不斷滿足客戶的要求,以我們的專業成就您的事業——是我們永恒的追求!
一、結構說明
1、整機為干式水泵型,電機采用油室密封方式,內設機械密封,能有效防止高壓水和雜質進入電機內腔。
2、除主葉輪外,還有攪拌副葉輪,能將沉淀于水底的淤渣攪拌成湍流后抽取出來。
3、葉輪和攪拌葉輪等過流部件采用高硬度的高強耐磨合金(C')、鑄鐵(M )、鑄鋼(G) ,排沙能力強,能排出較大的固體顆粒。
4、電機潛入水下,不受吸程限制,吸渣效率高,清淤更徹底。
5、整體設備簡化,不許配備輔助攪拌裝置或噴射裝置,操作簡便,機組總投資降低。
6、攪拌葉輪直接接近沉積面,通過下潛深度控制濃度。在介質比重大的情況下可以通過加裝輔助裝置,增加介質濃度。
二、使用條件
1、電源為50HZ/60HZ/380V/415V/660V/1140V三相交流電源,配電變壓器的容量為2-3倍電機額定容量。
2、介質溫度不得超過60,xSQ(R)型不超過140,不含易燃易爆性氣體。3、介質中固體顆粒最大重量濃度:灰渣為45%,礦渣為60%。
4、在內自流循環冷卻系統的泵,電機部分露出液面不超過1/2。5、機組潛水深度:不大于40米,最小潛水深度以淹沒電機為準。6、機組在介質中的工作位置為立式,上部懸掛定位。
7、一般情況下,泵必須在使用揚程范圍內使用,保證電機不過載,如需在全揚程范圍使用,就在訂貨時另行說明,以便廠家制造。
三、優點
(一)與一般臥式泵相比,潛水式渣漿泵·吸沙泵明顯具有以下幾個方面的優點:. 1、結構緊湊、占地面積小。由于潛入液下工作,因此可直接安裝于污水排沙池內,無需建造專門的泵房用來安裝泵及電機,可以節省大量的土地及基建費用。
2、安裝維修方便,自由安裝。
3、連續運轉時間長。由于泵和電機同軸,軸短,轉動部件重量輕,因此軸承上承受的載荷(徑向)相對較小,壽命比一般泵長得多。
4、不存在汽蝕破壞及灌引水等問題。特別是后一點給操作人員帶來了很大的方便。正是由于上述優點,已越來越受到人們的重視,使用的范圍也越來越廣,由原來的單純地用來輸送高濃度泥沙到現在可以輸送各種生活污水、工業廢水、建筑工地排水、液體飼料等等。在市政工程、工業、醫院、建筑、飯店、水利建設等各行各業中起著十分重要的作用。
(二)密封技術
所謂的副葉輪流體動力密封,是指在泵蓋背后安裝了一個與主葉輪轉向相反的副葉輪。當泵工作時,副葉輪隨泵主軸一起旋轉,副葉輪中的液體也會一起旋轉,轉動的液體會產生一個向外的離心力,這個離心力一方面頂住流向機械密封處的液體,降低了機械密封處的壓力。另一方面阻止介質中的固體顆粒進入機械密封的磨擦,減少機械密封磨塊的磨損,延長了使用壽命。副葉輪除了起到密封作用外,還可以起到降低軸向力的作用,在此類泵中軸向力主要是由液體作用在葉輪上的壓差力和整個轉動部分的重力所組成,這兩個力的作用方向是相同的,合力是由兩個力相加而成,可以看出,在性能參數完全相同的情況下,此類泵的軸向力比一般臥式泵要大,而平衡難度比立式泵要難。所以在此類泵中,軸承容÷易損壞,原因也是與軸向力有很大的關系。如果安裝了副葉輪,副葉輪上壓差力的方向與上述兩力的合力相反,這樣可以抵消一部分軸向力,也就起到了延長軸承壽命的作用。但是使用副葉輪密封系統也有一個缺點,那就是在副葉輪上要消耗一部分能量,一般在3%左右,介質只要設計合理,完全可以把這部分損失降低到最低限度。
四、型號意義及安裝示意圖

五、產品結構說明
ZJQ、NSQ型潛水式渣漿泵·吸沙泵是由電機與泵兩部分組成,二者通過油隔離室及機械密封組件隔開,屬機電一體化產品,電機與泵合用同一軸(轉子)整個水泵長度短,結構緊湊。配備多種保護裝置,使得泵運行安全可靠。
采用Y系列國標電機,F級絕緣,運行安全可靠。
采用雙道串聯密封,選用新型合金材質,具有密封可靠、耐磨,壽命長特點。過流部件采用高鉻渣漿泵,材質耐磨,性能好,過流性能優異,是國內同類型泵壽命的2-10倍。

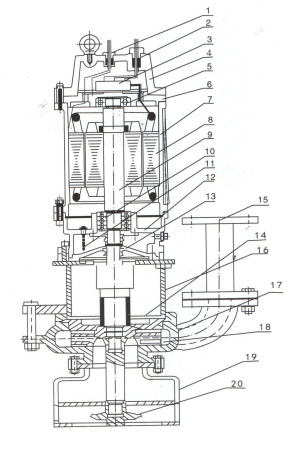
1、信號線 2、電機接線 3、接線盒 4、電機蓋 5、軸承 6、上軸座 7、電機殼 8、定子 9、軸(轉子) 10、軸承 11、油水探頭 12、油室 13、機械密封 14、護板 15、出水管 16、支架 17、泵體 18、葉輪 19、底座濾網 20、絞刀
六、性能參數表
表(一)
| 產品型號 | 轉速(r/min) | 流量 ( m3/h ) | 揚程 ( m ) | 功率( Kw ) | 口徑(mm) | |
| 40 ZJQ/NSQ | 8-12-2.2 | 1450 | 8 | 12 | 2.2 | 40 |
| 10-21-5.5 | 10 | 21 | 5.5 | 40 | ||
| 15-12-3 | 15 | 12 | 3 | 40 | ||
| 18-19-5.5 | 18 | 19 | 5.5 | 40 | ||
| 23-10-3 | 23 | 10 | 3 | 40 | ||
| 25-17-5.5 | 25 | 17 | 5.5 | 40 | ||
| 50 ZJQ/NSQ | 12-6-3 | 1450 | 12 | 6 | 3 | 50 |
| 20-20-4 | 20 | 20 | 4 | 50 | ||
| 25-15-4 | 25 | 15 | 4 | 50 | ||
| 25-30-7.5 | 25 | 30 | 7.5 | 50 | ||
| 30-16-5.5 | 30 | 16 | 5.5 | 50 | ||
| 35-6-4 | 35 | 6 | 4 | 50 | ||
| 45-14-5.5 | 45 | 14 | 5.5 | 50 | ||
| 65 ZJQ/NSQ | 25-15-4 | 1450 | 25 | 15 | 4 | 65 |
| 47-34-11 | 47 | 34 | 11 | 65 | ||
| 56-27-11 | 56 | 27 | 11 | 65 | ||
| 71-25-11 | 71 | 25 | 11 | 65 | ||
| 65 ZJQ/NSQ | 10-15-5.5 | 1450 | 10 | 15 | 5.5 | 80 |
| 30-30-7.5 | 3o | 30 | 7.5 | 80 | ||
| 45-15-5.5 | 45 | 15 | 5.5 | 80 | ||
| 70-20-7.5 | 70 | 20 | 7.5 | 80 | ||
表(二)
| 產品型號 | 轉速(r/min) | 流量(m3/h) | 揚程(m) | 功率(Kw) | 口徑(mm) | |
| 80 ZJQ/NSQ | 70-35-15 | 1450 | 70 | 35 | 15 | 80 |
| 80-15-7.5 | 80 | 15 | 7.5 | 80 | ||
| 80-20-11 | 80 | 20 | 11 | 80 | ||
| 80-45-22 | 80 | 45 | 22 | 80 | ||
| 100-20-11 | 100 | 20 | 11 | 80 | ||
| 100-30-15 | 100 | 30 | 15 | 80 | ||
| 130-19-22 | 130 | 19 | 22 | 80 | ||
| 100 ZJQ/NSQ | 80-25-15 | 1450 | 80 | 25 | 15 | 100 |
| 100-12-7.5 | 100 | 12 | 7.5 | 100 | ||
| 100-20-15 | 100 | 20 | 15 | 100 | ||
| 100-30-18.5 | 100 | 30 | 18.5 | 100 | ||
| 120-18-15 | 120 | 18 | 15 | 100 | ||
| 120-35-22 | 120 | 35 | 22 | 100 | ||
| 150-25-22 | 150 | 25 | 22 | 100 | ||
| 150-38-30 | 150 | 38 | 30 | 100 | ||
| 160-80-90) | 160 | 80 | 90 | 100 | ||
| 180-22-22 | 180 | 22 | 22 | 100 | ||
| 200-35-37 | 200 | 35 | 37 | 100 | ||
| 100 ZJQ/NSQ | 120-16-15 | 1450 | 120 | 16 | 15 | 150 |
| 150-22-18.5 | 150 | 22 | 18.5 | 150 | ||
| 150-35-22 | 150 | 35 | 22 | 150 | ||
表(三)
| 產品型號 | 轉速(r/min) | 流量(m3/h) | 揚程(m) | 功率(Kw) | 口徑(mm) | |
| 150 ZJQ/NSQ | 180-25-22 | 1450 | 180 | 25 | 22 | 150 |
| 200-22-22 | 200 | 22 | 22 | 150 | ||
| 200-35-37 | 200 | 35 | 37 | 150 | ||
| 200-80-110 | 200 | 80 | 110 | 150 | ||
| 250-16-22 | 250 | 16 | 22 | 150 | ||
| 250-22-30 | 250 | 22 | 3o | 150 | ||
| 250-40-45 | 250 | 40 | 45 | 150 | ||
| 260-35-45 | 260 | 35 | 45 | 150 | ||
| 260-60-110 | 260 | 60 | 110 | 150 | ||
| 280-33-45 | 280 | 33 | 45 | 150 | ||
| 300-22-30 | 300 | 22 | 30 | 150 | ||
| 300-30-37 | 300 | 30 | 37 | 150 | ||
| 300-30-45 | 300 | 30 | 45 | 150 | ||
| 350-25-37 | 350 | 25 | 37 | 150 | ||
| 400-30-55 | 400 | 30 | 55 | 150 | ||
| 450-25-75 | 450 | 25 | 75 | 150 | ||
| 200 ZJQ/NSQ | 300-25-37 | 1450 | 300 | 25 | 37 | 200 |
| 450-25-55 | 450 | 25 | 55 | 200 | ||
| 500-35-90 | 500 | 35 | 90 | 200 | ||
七、特點
1、采用先進技術,排污泥能力強,無堵塞,能有效地通過直徑qp30~p60毫米的固體顆粒。
2、撕裂機構能夠把纖維狀物質撕裂、切斷,然后順利排放,無需在泵上加濾網。3、設計合理,配套電機功率小,節能效果顯著。
4、采用新型材料的機械密封,可以使泵安全連續運行。
5、結構緊湊,移動方便,安裝簡單,可減少工程造價,無需建造泵房。6、能夠在全揚程范圍內使用,而保證電機過載。
八、安裝系統說明
1、自動耦合裝置系統
適用于長期固定的使用場合,具有安裝快捷,檢測、維修方便等優點。該系統使用特制的底座,固定在污水坑的底部,與出水管連結好,在池項安裝好配套的支承塊,用導桿使二者相連,水泵與特定支架連結好,沿導桿下達到底座,與其自動耦合、密封,而提升時則自動脫落。
2、移動式安裝系統
它以支架支承,接上出水軟管即可工作,這種方式主要應用于救急或維修施工的需要。
九、泵使用方法及注意事項
1、泵使用前應仔細檢查電纜是否損壞,緊固件是否松動或脫落,泵在運輸、存放、安裝過程中有無變形或損壞。
2、用500V兆歐表測量電泵電動機相同和相對地間絕緣電阻,其值應不低于2兆歐,否則應對電機定子繞組進行干燥處理,干燥處理的溫度不允許超過120℃。
3、該系列泵的安裝有固定式和移動式兩種。當采用固定式自動安裝時,應將
鏈索分別穿進(偏離泵出水口,其連線應平行于泵出水口)的兩個吊環螺釘或起吊板中上下起吊電泵。均勻緩慢地沿著導軌下滑,直到自動耦合到位。當采用移動式安裝時,先將軟管套好,用鏈索穿進兩個吊環上下起吊電泵,注意切不能將電纜當作繩索使用,以免發生危險。
4、泵接通后的旋轉方向從進水口看為逆時針轉動,如果電泵反轉,只需將電纜線中的任何二根線對調一下接線位置即可。
5、電泵的機殼地線必須嚴格按有關規程接妥,為了保證使用時人身安全,在電泵運行時,嚴禁在附近安裝人下水做事或移動,以防電泵漏電而發生意外事故。
6、電泵在無特殊情況必須配備全自動水泵控制柜,切勿直接掛電網或使用閘刀開關來接通電源,確保電泵正常運行。
7、不得將電泵長期處于低揚程狀態下運行(一般使用揚程不得低于額定揚程的60%),最好能控制在建議使用揚程范圍以內,以防電泵超載而燒壞電機。
8、無自循環冷卻裝置的泵嚴禁整體露出水面長期運行,以防電泵過熱損壞。
十、維護保養
1、電泵應有專人管理與使用,并定期檢查電泵繞組與機殼之間的絕緣電阻是否正常。
2、每次使用特別是用于較稠較粘的漿液后,應將電泵放入清水中運轉數分鐘,防止泵內留下沉積物,保證電泵的清潔。
3、電泵如長時間不用時應將電泵從水中取出,不要長期浸泡在水中,以減少電機定子繞組受潮的機會,增加電泵的使用壽命。
4、在常規狀態下泵每使用300~500小時后應加注或更換油室中機油(10~30號機油),使機械密封保持良好的潤滑狀態,提高機械密封的使用壽命。
5、電泵拆卸、維修后,機殼組件必須經0.2MPa氣密試驗檢查,以確保電機密封可靠。
6、葉輪和泵體之間的密封環具有密封功能,如密封損壞將直接影響到泵的性能,必要時應更換。
常見故障及排除辦法
| 故障 | 原因 | 排除方法 |
| 流量不足或不出水 | 1.電機反轉 2.葉輪流道或管道堵塞 3.裝置揚程過高,或所選泵的揚程大大低于實際需要 4.葉輪嚴重磨損 5.液位太低,致使泵吸入空氣 6.止回閥方向裝反 |
1 .糾正電機轉向 2.清除葉輪或管道中的雜物,最好在泵周圍設置濾柵(但不可在泵入口裝過濾網) 3.設法降低裝置揚程(如換大直徑管或光滑管,減少彎頭數量,或增大彎頭的圓弧半徑)或改用較高揚程的泵。 4.更換葉輪 5.調整浮球開關位置,使最低液位符合安裝尺寸的要求。 6.糾正止回閥方向。 |
| 不能啟動 | 1.缺相 2.葉輪卡住 3.繞組接頭或電纜斷路 4.定子繞組燒壞 5.控制電器故障 6.電源電壓太低 |
1.檢查線路,排除缺相問題 2.清除雜物,最好在泵周圍設置濾柵(但不可在泵入口裝濾網) 3.用歐姆表檢查后修復 4.進行修理,更換繞組或定子 5.檢查控制柜,修理或調換電器零件 6.對癥解決電源電壓的問題 |
| 定子燒壞 | 1.在沒有保護控制電器的情況下;缺相運行或缺相狀態下啟動;葉輪卡死或脫落;介質濃度過大;冷卻系統於塞 2.密封損壞電機進水 3.緊固件松動造成電機進水 4.電機長時間露出水面運行 |
修理好電機后,使用前必須: 1.配置保護控制電器并:查清線路,清除缺相故障;清除臟物,擰緊葉輪緊固螺釘及不銹鋼彈簧墊圈;用水稀釋介質;沖洗疏通冷卻系統 2.更換機械密封或“O”形密封圈 3.擰緊各部緊固件 4.保證最低液位不低于安裝尺寸圖的規定 |
| 電流過大 | 1.抽送液體的密度或粘度較高 2.所選泵的揚程大天超出實際雷要,或使用條件改變.裝置揚程大幅度降低,使得泵超過推薦流量運行 3.軸承損壞 4.葉輪和泵體之間(如口環處)夾有雜物 5.電源電壓過低 |
1.改變抽送液體的密度或粘度 2.關小出口閥,減小流量,或車小葉輪,或更換較低揚程的泵 3.更換軸承 4.清除雜物 5.對癥解決電源電壓的問題 |
| 振動、噪聲大 | 1.所選泵的揚程大大超出實際需要,或使用條件改變.裝置揚程大幅度降低,使得泵超過推薦流量運行 2.液位太低,致使泵吸入空氣 3.管路設置不當,如緊貼泵出口裝閥并關小閥門.緊貼泵出口裝彎管.緊貼泵出口的吐出管路的管徑突然縮小.安裝的泵的吸入路管徑小于吸入彎管入口口徑 4.軸承缺油脂或損壞 5.葉輪和泵體之間卡上了雜物(伴隨有電流增大) |
1.關小出口閥,減少流量,或車小葉輪,或更換較低揚程的泵 2.調整浮球開關位置,使最低液位符合安裝尺寸圖的要求 3.查出管路設置的具體問題對癥解決 4.給軸承加油脂或更換軸承 5.排除雜物 |
聯系人:王經理
電話/傳 真:0312-3426585
廠 址:河北省保定市安國市石佛鎮石佛村紅星區41號
網 址:http://m.7tkt.com
郵 箱:415380809@qq.com
版權所有:河北聚信泵業有限公司|潛水渣漿泵
備案號:冀ICP備17024991號-1